上市1个多月后,国产芯片公司对美国巨头发起“诉讼战”。
8月13日晚间,屹唐股份发布公告称,美国芯片设备巨头应材非法获取其核心技术秘密,并利用相关技术在中国境内申请专利,指控其违反“反不正当竞争法”,侵犯商业秘密,向应材发起诉讼,索赔9999万元。
公告显示,该诉讼涉及一项基于高浓度、稳定均匀的等离子体进行晶圆表面处理的技术,广泛用于干法去胶、干法蚀刻、表面处理及改性等半导体加工设备中,屹唐股份称这项技术属于其关键技术之一。

晶圆制造主要流程
资料显示,在半导体制造中,等离子体通常通过高频电场激发气体产生,由于具备高活性的特点,可以与固体表面(硅晶圆)发生物理或化学作用,实现精密加工。
等离子体的高浓度代指等离子体中粒子密度高,在单位时间内与晶圆表面发生反应的粒子数量更多,同时保证对微小的晶圆表面区域充分发生作用,以实现提效;而稳定均匀更为关键,可以保证同批次的晶圆质量,尤其是大尺寸晶圆表面区域处理效果一致,避免导致芯片报废。
屹唐股份在公告中指控应材通过聘用其全资子公司Mattson员工的形式获取商业机密,称相关员工知晓上述技术并且签署有保密协议,但在入职应材后在中国境内发起专利申请,公开披露了屹唐和其子公司Mattson共有的技术秘密。
该案件目前处于刚刚受理阶段,且屹唐股份也在公告中强调不会对公司经营方面产生重大不利影响,不会影响公司正常生产经营,这种情况下发公告提及诉讼案件颇不寻常。另外,公告亦没有对这项技术属于屹唐和其子公司Mattson提供说明。
“为了造势,争取舆论的支持,”一位资深法律人士对我们表示,“他们本意更像是告诉外界, 中国公司可以挑战美国大企业。”
01 市值700亿的国产半导体设备龙头
屹唐股份作为半导体设备龙头,7月8日在科创板敲钟上市,开盘大涨近200%,市值超过770亿元。截至发稿,其最新市值为697.22亿元。
2020年5月、9月和10月,屹唐股份连获三轮融资,被称之为“创投圈现象级项目”。
屹唐股份于2015年成立,由亦庄国投孵化,2016年收购美国半导体设备企业Mattson,是一家总部位于中国的全球性半导体公司,在中国、美国和德国都设有研发、制造基地,核心业务是晶圆加工设备研发、生产和销售,为全球的晶圆制造客户提供干法去胶设备、快速热处理设备、干法刻蚀设备等解决方案。
根据 Gartner
2023年统计数据,屹唐股份干法去胶设备、快速热处理设备市场占有率均位居全球第二,干法刻蚀设备市场占有率位列全球第九。
需要注意,排名靠前和市场份额并不直接挂钩,其干法去胶设备2023年全球市场占有率相对较高,达到34.60%,快速热处理设备2023年市场占有率为13.05%,干法刻蚀设备2023年全球市场占有率
0.21%。
资料显示,截止2024年6月屹唐股份相关设备累计装机超 4600 台,覆盖逻辑芯片、闪存芯片、DRAM
芯片领域。其中,快速热处理设备单价达到1500万元,干法刻蚀设备单价最高接近2500万元,干法去胶设备单价在700万元左右。
其招股书显示,2021-2023年,公司营收分别为32.41亿元、47.63亿元、39.31亿元,净利润分别为1.81亿、3.83亿、3.09亿元。2024年1-9月,公司营收33.3亿元,同比增长23.89%,净利润4.2亿元,同比增长102.29%。公司预计2024年全年营收45-47亿元,归母净利润
4.8-5.5 亿元,扣非净利润同比增长 59.94%-85.85%。
客户分布方面,屹唐股份自2021年开始,大陆客户营收贡献逐渐上升,到2024年前6个月,大陆客户的营收贡献占比达到68.1%。

屹唐股份客户分布,来源:招股书
本次IPO计划投入25亿元募集资金,投资于集成电路装备研发制造服务中心项目、高端集成电路装备研发项目及发展和科技储备资金。
屹唐股份在招股书中提示的风险主要包括市场竞争、产品线覆盖度、贸易摩擦及业绩波动几个方面,其中有关市场竞争部分,屹唐股份强调在快速热处理及干法刻蚀领域,与国际巨头相比市场占有率仍有较大差距。
以干法刻蚀为例,其2023年凭借0.21%的市场占有率位居全球第九,而前三大厂商泛林半导体、东京电子及应用材料合计占有83.95%的市场份额。
02 诉讼背后:All in 中国
屹唐股份此次在中国境内对应材发起诉讼实质是Mattson与美国应用材料公司存在法律纠纷的延续,导火索是“Mattson14
个月内挖走应材17名资深工程师 ”。
据悉,这些员工能接触到芯片制造流程和技术路线图等敏感信息。
据应材提交至美国司法部门的材料,一名员工加入Mattson前,从应材云存储系统中试图将多个标记为机密的文件下载到个人存储,未果后又转发至个人邮箱,相关内容包括用于薄膜沉积的新型腔体或反应器的
3D
渲染图、详细尺寸和材料成分等高度敏感的技术信息。在加入Mattson后,该名员工用公司电脑登录个人邮箱,获取之前转存的资料。
随后Mattson一一否认了该指控,并于2023年11月对应材发起了同类型诉讼,指控应材挖角其两名前员工,存在商业秘密盗用、违约、诱导违约、不正当竞争及侵占等行为,涉及等离子处理设备技术秘密。

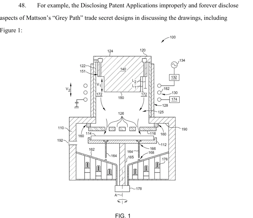
Mattson申明持有的代号为 “Grey Path” 的等离子体处理设备内部结构专利,来源:Mattson
“Mattson与应材都是几十年的半导体设备厂,一直都互相有专利诉讼,”一位半导体资深从业者表示,“泛林、应材之间也一大堆诉讼,都是很正常的现象。”
前述半导体从业者表示,Mattson原先主体在美国,现在通过大陆主体屹唐股份对应材发起诉讼,释放了一个信号——All in
中国大陆市场。他对我们表示,“照这个诉讼的态势,可能就是要All
in大陆了,这几年可能该迁移技术也都迁移回来了,吸收的也吸收也差不多,无论如何,这个诉讼属于表态吧。”
All
in大陆的趋势其实在屹唐股份的客户营收贡献占比中已有所体现。Mattson之前主要服务全球客户,随着被屹唐股份并购,其海外市场份额逐渐从60%以上,收缩至30%左右。
03 芯片知识产权暗战
芯片大厂之间的诉讼一直较为频繁。
过去5年,中微与科林、AMD与 ADI、Veeco
与中微公司之间都有相关案例,尤其是中微与科林诉讼案,耗时长达13年,直至2023年6月份才有终审结果,堪称半导体行业诉讼的持久战。
“硅谷企业之间挖人很正常,而商业秘密是最主要的保护武器。美国本土企业就很好战,Intel和AMD数十年恩怨,苹果三星亦然。”美国凯腾律所合伙人韩利杰此前在腾讯科技独家撰稿《没有人能“杀死”中芯国际》一文中写道。
屹唐起诉应材之前,半导体产业的知识产权诉讼,最典型的要属台积电“2nm泄密事件”。
公开资料显示,2025年6月,台积电内部团队在自查过程中,发现居家办公的工程师内网流量异常,访问的多为2nm机密信息,调查结果显示,包括3名台积电2nm试产及6名研发支持部门工程师参与到向日本东京电子泄密事件当中。随后,8月7日,东京电子承认其台湾地区子公司1名前员工涉案,称已解雇涉案人员,并全力配合调查。
台积电“2nm泄密事件”之所以广受关注,更重要的原因在于此前日本晶圆代工厂Rapidus官宣启动2nm试产,并将于2027年开启量产,距离其成立仅仅过去3年时间。
公开资料显示,Rapidus与东京电子关系非常紧密,其现任社长东哲郎此前担任东京电子社长。
东京电子作为世界第四大半导体设备商,亦为Rapidus的设备供应商,与此同时还是Rapidus的股东。此外,东京电子还是半导体技术联盟LSTC的成员,Rapidus负责将LSTC的研究成果转化为大规模生产。
有观点认为,Rapidus在2nm试产上的突破,与台积电相关数据泄露高度相关,但也有观点认为,Rapidus继承的是IBM的技术路线,且即便是部分工程师被挖角,部分工艺信息泄露,也无法帮助一家企业在行业最先进的节点上快速掌握Know
How。
一位接近台积电的资深人士向我们透露,“日本Rapidus是IBM技术,和台积电路线不同,理论上偷了也没用。不过,东京电子和Rapidus关系太深,所以被怀疑。”
除了“2nm泄密事件”,台积电在知识产权上最典型诉讼与中芯国际有关。
2003年,中芯国际上市前夕,台积电在美国起诉中芯国际,称其侵犯多项专利并窃取部分商业秘密,要求赔偿
10亿美元。2005年,双方达成庭外和解,中芯国际同意在六年内向台积电支付1.75亿美元,作为专利授权及和解金。同时,两家公司交叉授权相互专利直至2010年12月。
2006年8月,台积电再度在美国起诉中芯国际侵犯知识产权,称中芯国际违反和解协议,使用不法手段盗用商业机密。最终,2009年11月,双方再度和解,中芯国际创始人张汝京辞任执行董事及
CEO 职务。
按照当时的协议,中芯国际向台积电支付2亿美元现金及10%股份,台积电承诺不派驻董事、不参与日常运营,同时免除中芯国际在2005年协议中需支付的4000万美元尾款,中芯国际可沿用涉及诉讼的商业秘密及技术
。
在韩利杰看来,关于半导体企业之间的诉讼本质上与制造技术壁垒高有关,“工程师到了新的岗位,不可避免会用到先前的经验,很多经验虽然也属于一种商业秘密,但如果调用脑海中的知识经验,无可厚非,而如果在离职时带走前公司的数据、资料、文件,就可能是构成违法的把柄。”
上市一个月后,中国芯片公司向美国巨头“宣战”
时间:2025-08-17 10:23来源:
未知
点击:
次
责任编辑:admin
顶一下
(0)
0%
踩一下
(0)
0%
免责声明:中国民生播报网本栏目发布信息,目的在于传播更多信息,丰富网络文化,稿件仅代表作者个人观点,与中国民生播报网无关。其原创性以及中文陈述文字和文字内容未经本网证实,对本文以及其中全部或者部分内容、文字的真实性、完整性、及时性本网不做任何保证或者承诺,请读者仅作参考,并请自行核实相关内容。凡注明为其他媒体来源的信息,均为转载自其他媒体,转载并不代表本网赞同其观点,也不代表本网对其真实性负责。您若对该稿件由任何怀疑或质疑,请即中国民生播报网联系,本网将迅速给您回应并做处理。
- 最新评论 进入详细评论页>>


















